2017 F-150. Photo: FordLoading and unloading a pickup bed can be a real challenge.
To help make the job easier, Ford has come up with plans, seen in the images below, for a sliding bed floor that it submitted recently to the U.S. Patent Office.
The automated floor may be available on the automaker’s upcoming hybrid F-150 which is expected to be in production by 2020.
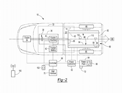
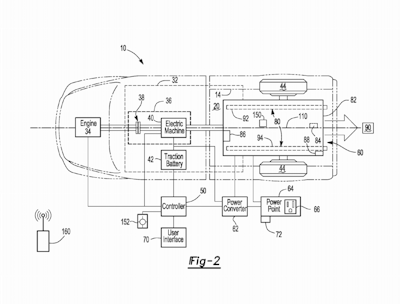
“The ‘powered sliding platform assembly’ consists of a platform mounted on rails that’s operated by the same electric motor used in a hybrid powertrain,” Fox News reports.
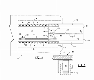
The floor is equipped with a sensor that will keep it from hitting things or people as it extends from the bed. Though its weight capacity is not yet available, the floor is designed to work on inclines with a heavy load.

























